欢迎您来到鑫海文
服务电话:13714267950?QQ:1364937012 ?手机:
|

公司新闻 知识专区 无刷小百科

直流无刷控制器工作原理

来源:拼搏买球-拼搏中国|发布时间:2019-05-07 19:15


随着科技的发展,无刷控制器技术的突破,直流无刷控制器的应用越来越广泛。无刷控制器以其独特的优势,受到越来越多商家的青睐。今天和大家介绍直流无刷控制器控制原理。

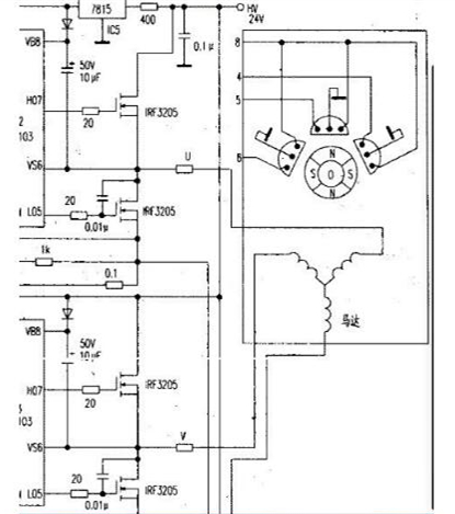
要让电机转动起来,首先控制部就必须根据霍尔传感器感应到的电机转子目前所在位置,然后依照定子绕线决定开启(或关闭)换流器(INVERTER)中功率晶体管的顺序,如下图的逆变器中之AH、BH、CH(这些称为上臂功率晶体管)及AL、BL、CL(这些称为下臂功率晶体管),使电流依序流经电机线圈产生顺向(或逆向)旋转磁场,并与转子的磁铁相互作用,如此就能使电机顺时/逆时转动。当电机转子转动到霍尔传感器感应出另一组信号的位置时,控制部又再开启下一组功率晶体管,如此循环电机就可以依同一方向继续转动直到控制部决定要电机转子停止则关闭功率晶体管(或只开下臂功率晶体管);要电机转子反向则功率晶体管开启顺序相反。

基本上功率晶体管的开法可举例如下:
AH、BL一组→AH、CL一组→BH、CL一组→BH、AL一组→CH、AL一组→CH、BL一组,但绝不能开成AH、AL或BH、BL或CH、CL。此外因为电子零件总有开关的响应时间,所以功率晶体管在关与开的交错时间要将零件的响应时间考虑进去,否则当上臂(或下臂)尚未完全关闭,下臂(或上臂)就已开启,结果就造成上、下臂短路而使功率晶体管烧毁。

 
直流无刷控制器控制原理
 
当电机转动起来,控制部会再根据驱动器设定的速度及加/减速率所组成的命令(COMMAND)与霍尔传感器信号变化的速度加以比对(或由软件运算)再来决定由下一组(AH、BL或AH、CL或BH、CL或……)开关导通,以及导通时间长短。速度不够则开长,速度过头则减短,此部份工作就由PWM来完成。PWM是决定电机转速快或慢的方式,如何产生这样的PWM才是要达到较精准速度控制的核心。高转速的速度控制必须考虑到系统的CLOCK分辨率是否足以掌握处理软件指令的时间,另外对于霍尔传感器信号变化的资料存取方式也影响到处理器效能与判定正确性、实时性。至于低转速的速度控制尤其是低速起动则因为回传的霍尔传感器信号变化变得更慢,怎样撷取信号方式、处理时机以及根据电机特性适当配置控制参数值就显得非常重要。或者速度回传改变以ENCODER变化为参考,使信号分辨率增加以期得到更佳的控制。电机能够运转顺畅而且响应良好,P.I.D.控制的恰当与否也无法忽视。之前提到直流无刷控制器是闭回路控制,因此回授信号就等于是告诉控制部现在电机转速距离目标速度还差多少,这就是误差(ERROR)。知道了误差自然就要补偿,方式有传统的工程控制如P.I.D.控制。但控制的状态及环境其实是复杂多变的,若要控制的坚固耐用则要考虑的因素恐怕不是传统的工程控制能完全掌握,所以模糊控制、专家系统及神经网络也将被纳入成为智能型P.I.D.控制的重要理论。

48V无刷控制器电动车接线原理

 
控制器工作原理
 
八根线,三根粗线是黄蓝绿个别车不一样,五根霍尔线,红黑蓝绿黄。五根霍尔线里面红黑绝对不可以接错颜色,其他三根细线按颜色接。三根粗线按颜色接,接上之后也可能会电机发抖,不转,反转,可以把三根粗线随意搭配连接,细线除了红黑不能乱,其他的三根也可以随意搭配连接。
 
鑫海文长期致力于无刷驱动器方案的研发,高压/低压无刷驱动器的研发生产。鑫海文拥有丰富开发应用经验的专业研发技术团队。选择鑫海文,个性化定制专业解决方案。
本文由鑫海文(www.wsqdfa-bldc.com)原创首发,转载请以链接形式标明本文地址或注明文章出处!